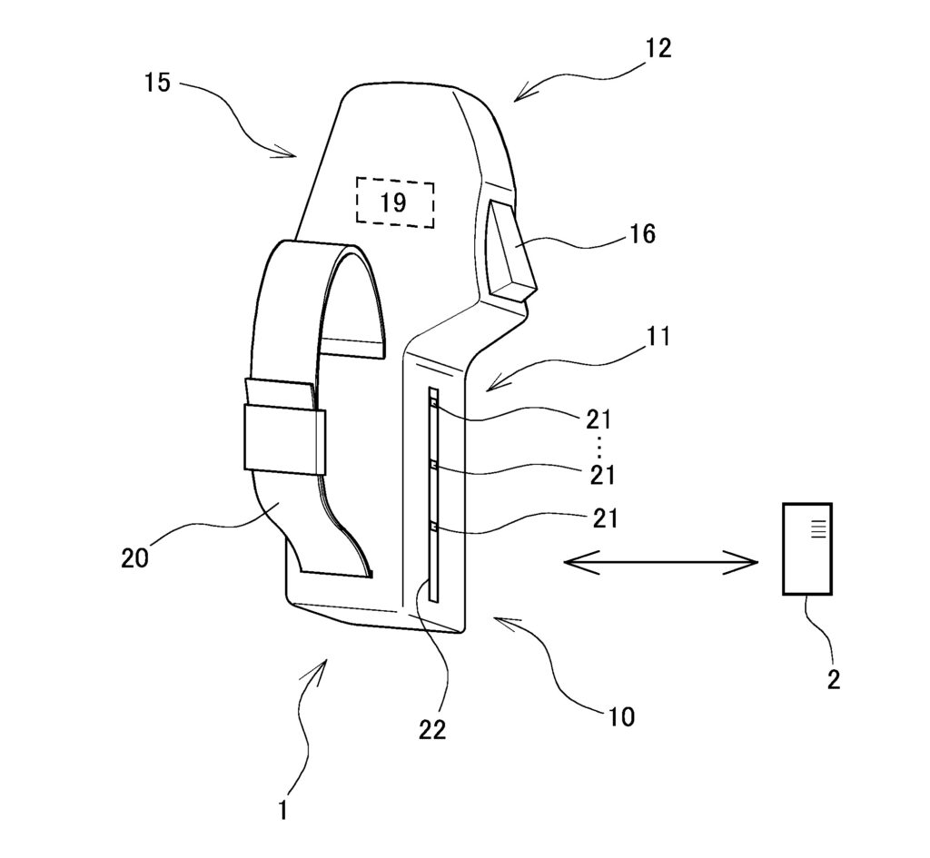
Gamesradar donosi, że Sony może pracować nad nowym kontrolerem do PlayStation VR. Informacja ta pochodzi z patentu zarejestrowanego przez firmę w 2018, który dopiero niedawno został upubliczniony. Urządzenie ma śledzić ruchy dłoni i palców użytkownika z pomocą szeregu czujników.
Gamesradar pisał również, że japoński gigant prawdopodobnie pracuje nad zestawem do wirtualnej rzeczywistości na nadchodzące PlayStation 5. Nowy PS VR miałby mieć premierę niedługo po wypuszczeniu PS5 i wykorzystywać nową technologię śledzącą ruchy głowy i oczu użytkownika.
